Computer >> บทช่วยสอนคอมพิวเตอร์ >  >> ซอฟต์แวร์ >> ซอฟต์แวร์

คำแนะนำรายละเอียดสิทธิบัตรเกี่ยวกับรุ่น iPhone แบบพับได้

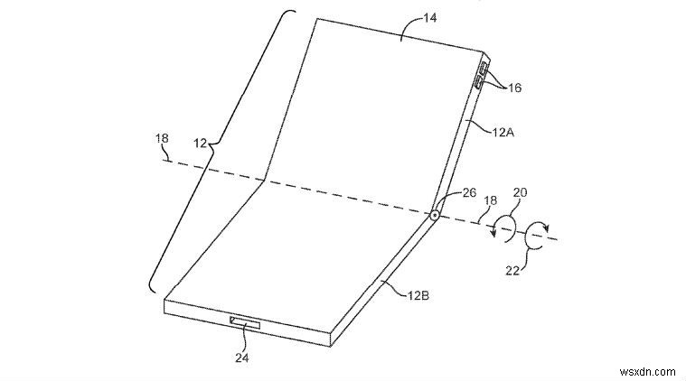
มีการกล่าวกันว่า Apple มาช้าในการนำเทคโนโลยีมาสู่ผลิตภัณฑ์ของตน อย่างไรก็ตาม สิทธิบัตรล่าสุดที่ใช้โดย Apple ดูเหมือนจะระบุเป็นอย่างอื่น ตามภาพที่ส่งมาเพื่อขอรับสิทธิบัตรระบุว่าเป็น iPhone แบบพับได้ที่มีหน้าจอ OLED ที่งอได้ ซึ่งสามารถพับครึ่งได้

อย่างไรก็ตาม รูปภาพหรือสิทธิบัตรที่นำไปใช้ไม่ได้หมายความว่า Apple กำลังจะใช้เทคโนโลยีนี้ในอนาคตอันใกล้

คำแนะนำรายละเอียดสิทธิบัตรเกี่ยวกับรุ่น iPhone แบบพับได้

สิทธิบัตรบอกอะไร

ตามสิทธิบัตร iPhone ในอนาคตอาจมาพร้อมกับบานพับและจอแสดงผลแบบพับได้ รายงานของ CNET ระบุว่าสิทธิบัตรดังกล่าวเป็นผลสืบเนื่องมาจากสิทธิบัตรอีกฉบับหนึ่งที่ Apple นำมาใช้ในปี 2554 และในปี 2559 ไม่ต้องสงสัยเลยว่า Apple กำลังพัฒนาเทคโนโลยีอุปกรณ์แบบพับได้ แต่นี่ไม่ได้หมายความถึง iPhone แบบพับได้ในกระบวนการนี้ .

สิทธิบัตรที่ยื่นกับ USPTO ออกเมื่อวันที่ 14 กุมภาพันธ์ 2019 โดยมีภาพสเก็ตช์ต่างๆ เกี่ยวกับการออกแบบอุปกรณ์แบบพับได้

เงื่อนไขสิทธิบัตร “จอแสดงผลแบบยืดหยุ่นอาจติดตั้งกับส่วนตัวเรือนที่ทับซ้อนกันของบานพับได้ เมื่อส่วนตัวเรือนในอุปกรณ์หมุนสัมพันธ์กัน จอแสดงผลแบบยืดหยุ่นอาจโค้งงอได้ บานพับอาจได้รับการกำหนดค่าเพื่อให้วางจอแสดงผลที่ยืดหยุ่นได้ในการกำหนดค่าด้านหน้าไปด้านหน้า โดยให้ด้านที่ใช้งานของจอแสดงผลหันเข้าหาตัวเอง หรือการกำหนดค่าจากด้านหลังไปด้านหลัง โดยส่วนที่ใช้งานของจอแสดงผลหันออกจากแต่ละส่วน อื่นๆ”

การออกแบบอุปกรณ์คล้ายกับคู่แข่งหรือไม่

สิทธิบัตรแสดงอุปกรณ์แบบฝาพับซึ่งเทียบได้กับโมโตโรล่า Motorola ยังระบุการออกแบบที่คล้ายกันในสิทธิบัตรที่ใช้สำหรับภาคต่อของ Moto Razr แนวทางทั้งหมดขึ้นอยู่กับวัตถุประสงค์ในการทำให้โทรศัพท์ขนาดใหญ่สามารถจัดการได้ด้วยบานพับและจอแสดงผลแบบพับได้

อย่างไรก็ตาม แนวคิดของ Apple นั้นแตกต่างจาก Samsung เนื่องจาก Samsung มีแผนที่จะแปลงแท็บเล็ตเป็นสมาร์ทโฟน

ในทางกลับกัน สิทธิบัตรของ Apple แสดงโทรศัพท์แบบพับได้ที่มีบานพับแบบต่างๆ ซึ่งบ่งชี้ว่าอุปกรณ์อาจมีหน้าจอ OLED แต่จะมีขนาดเล็กลง

Apple ไม่ใช่คนเดียวที่ทำงานเกี่ยวกับเทคโนโลยีนี้ มีบริษัทไม่กี่แห่งรวมถึง Samsung และ Motorola ที่ครอบครองบริษัทเดียวกัน

แม้ว่าเราไม่ควรตั้งความหวังไว้สูง เพราะสิทธิบัตรเช่นนี้อาจเป็นแค่แนวคิดลอยๆ สำหรับ Apple มีสิทธิบัตรที่บริษัทใหญ่ๆ อย่าง Apple ยื่นขอ แต่พวกเขาไม่เคยเห็นแสงสว่างของวันนี้